更多“某液压系统,其原理图如下: 写出职能符号 1、2、3、4、5、6、7、8、9的名称和作用”相关的问题
D.在液压系统原理图中,职能符号只表示液压元件的种类,不表示元件的实际安装位置
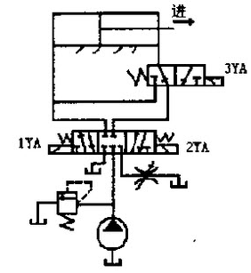
如图8-4所示液压系统,完成如下动作循环:快进→工进→快退→停止、卸荷。试编写出动作循环表,并评述系统的特点。

备注:网站、APP、小程序均支持文字搜题、查看答案;语音搜题、单题拍照识别、整页拍照识别仅APP、小程序支持。
作者:小编 日期:2026-04-10 11:49:27 点击次数:
某液压系统其原理图如下:写出职能符号1、2、3、4、5、6、7、8、9的名称和作用
更多“某液压系统,其原理图如下: 写出职能符号 1、2、3、4、5、6、7、8、9的名称和作用”相关的问题
D.在液压系统原理图中,职能符号只表示液压元件的种类,不表示元件的实际安装位置
如图8-4所示液压系统,完成如下动作循环:快进→工进→快退→停止、卸荷。试编写出动作循环表,并评述系统的特点。

备注:网站、APP、小程序均支持文字搜题、查看答案;语音搜题、单题拍照识别、整页拍照识别仅APP、小程序支持。