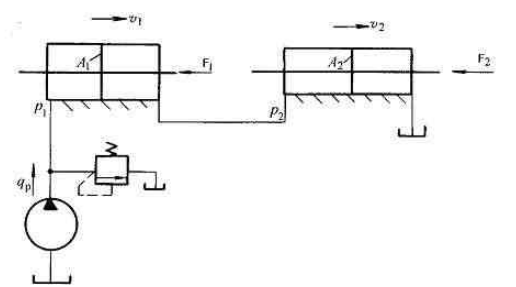
单斗液压挖掘机液压系统。主泵采用两台YCY14-1型轴向柱塞泵,溢流阀调整压力为25MPa,各液压缸过载阀调整压力除铲斗缸为25MPa外,其他均为28MPa。行走液压马达和回转液压马达采用ZM75型径向柱塞马达,其制动溢流阀压力调整到18MPa。试分析液压系统油路和各液压元件的作用,并回解:

液压传动系统中,假若将油箱完全密封起来,不仅可以防尘、防潮、液压泵同样能把油液吸出来。()
备注:网站、APP、小程序均支持文字搜题、查看答案;语音搜题、单题拍照识别、整页拍照识别仅APP、小程序支持。
作者:小编 日期:2026-04-20 09:42:40 点击次数:
一般液压传动系统除油液外各液压元件按其功能可分为()
单斗液压挖掘机液压系统。主泵采用两台YCY14-1型轴向柱塞泵,溢流阀调整压力为25MPa,各液压缸过载阀调整压力除铲斗缸为25MPa外,其他均为28MPa。行走液压马达和回转液压马达采用ZM75型径向柱塞马达,其制动溢流阀压力调整到18MPa。试分析液压系统油路和各液压元件的作用,并回解:

液压传动系统中,假若将油箱完全密封起来,不仅可以防尘、防潮、液压泵同样能把油液吸出来。()
备注:网站、APP、小程序均支持文字搜题、查看答案;语音搜题、单题拍照识别、整页拍照识别仅APP、小程序支持。